Logo Jake Brake

Jacobs® Kit de Afinación 019305, para los modelos: 440/445/440A/450A/450B

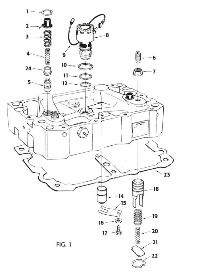
Kit 013950 Completo
CONTENIDO DEL KIT DE AFINACION
Imagen Contenido
Ilust.
No.
N/P Nombre de
Parte
Cantidad
1 011284 Anillo de retención 6
2 011252 Tapa de la Válvula de Control 6
3 007500 Resorte interior, Válvula de Control 6
4 011253 Resorte exterior, Válvula de Control 6
5 039022 Válvula de Control 6
9 021296 Arnés del Solenoide 3
10 001081 Anillo de Junta Superior 3
11 001082 Anillo de Junta Central 3
12 001083 Anillo de Junta Inferior 3
15 017412* Resorte plano (440/445/440A) 6
15 018792** Resorte Plano (450A/450B) 6
16 001030 Lavador 6
17 001492 Tornillo de cabeza hexagonal 6
23 016846 Junta, Carcasa de Freno 3
24 011251 Collarín de la Válvula de Control 6
NI 019306 Instructivo 1
Información General

Estas instrucciones describen cómo desmontar, limpiar y volver a instalar correctamente los componentes de Jacobs Engine Brake.

Utilice disolvente de limpieza aprobado por OSHA para limpiar las piezas.

Las piezas originales que se vayan a reutilizar deben inspeccionarse para comprobar su desgaste y sustituirse según sea necesario.

Asegúrese de recubrir las piezas con aceite de motor limpio al reinstalarlas.

Utilice gafas de seguridad cuando esté indicado.

Precauciones de Seguridad

Los siguientes símbolos en este manual, señalan condiciones potencialmente peligrosas para el mecánico o el equipo.

Lea atentamente este manual.

A continuación, tome las medidas necesarias para proteger tanto al personal como al equipo.

Cuidado

ESTE SÍMBOLO ADVIERTE DE POSIBLES LESIONES PERSONALES.

Precaución

ESTE SÍMBOLO SE REFIERE A POSIBLES DAÑOS EN EL EQUIPO.

Anotación

INDICA UNA OPERACIÓN, PROCEDIMIENTO O INSTRUCCIÓN QUE ES IMPORTANTE PARA UN SERVICIO CORRECTO.

Los combustibles, los equipos eléctricos, los gases de escape y las piezas del motor en movimiento presentan riesgos potenciales que pueden provocar lesiones personales.

Tenga cuidado al instalar equipos o piezas.

Utilice siempre gafas de seguridad.

Utilice siempre las herramientas adecuadas y siga los procedimientos indicados en este manual.

Instrucciones

Para obtener información adicional sobre los frenos de motor de los modelos 440/445/440A, consulte el Manual de instalación de los frenos de motor Jacobs®, P /N O 18102.

Para obtener información adicional sobre los frenos de motor de los modelos 450A/450B, consulte el Manual de instalación de frenos de motor Jacobs®, P /N O 19308.

Utilice disolvente de limpieza aprobado por OSHA para limpiar las piezas.

Inspeccione el desgaste de las piezas originales que se van a reutilizar y sustitúyalas si es necesario.

Utilice gafas de seguridad donde se indique.

Precaución

ESTE KIT CONTIENE DOS GRUPOS DE MUELLES PLANOS:

UNO PARA LOS MODELOS DE FRENO JAKE 440/445/440A Y EL OTRO PARA LOS MODELOS DE FRENO JAKE 450A/450B.

ANTES DE REALIZAR UNA PUESTA A PUNTO DEL FRENO JAKE, ANOTE EL NÚMERO DE MODELO DE FRENO JAKE EN LA PLACA DE CARACTERÍSTICAS QUE SE ENCUENTRA EN EL LATERAL DE LA CARCASA PARA GARANTIZAR EL USO CORRECTO DE LOS MUELLES PLANOS.

DESECHE LOS MUELLES PLANOS NO UTILIZADOS.

Acceso al Freno de Motor
  1. Limpiar a fondo los cárteres del motor y de los frenos.

  2. Desconecte los mazos de cables en las carcasas del freno motor (3 lugares).

  3. Desmontar en este orden:

    las tapas de las palancas basculantes,

    las juntas de las tapas,

    los tornillos de fijación de los cárteres

    y los cárteres de los frenos motor.

  4. Retire y deseche las juntas del alojamiento del freno motor (23).

Desmontar Carcasas
  1. Retire el arnés del solenoide (9) y la válvula (8); deseche el arnés y los tres anillos de sellado (10, 11, 12).

    Cuidado

    LAS TAPAS DE LAS VÁLVULAS DE MANDO (2) ESTÁN DESTENSADAS DE LOS MUELLES DE LAS VÁLVULAS DE MANDO (3, 4).

    RETIRE LAS TAPAS CON CUIDADO Y USE GAFAS DE SEGURIDAD.



  2. Retire y deseche los conjuntos de salida de terminales (8).

  3. Sujete la tapa de la válvula de control mientras retira el anillo de retención (I).

    Retire y deseche tapas (2), muelles (3,4), collar (24), válvulas de control (5) y los anillos de retención (1),

  4. Desmonte el pistón principal (14); deseche el muelle plano (15), la arandela (16) y el tornillo prisionero (17).

    Guarde elpistón maestro.

    Cuidado

    PISTONES ESCLAVOS (16) SON RETENIDOS POR PESADOS RESORTES (19, 20), PARA EVITAR LESIONES AL DESMONTAR EL PISTÓN ESCLAVO, UTILICEHERRAMIENTAS ADECUADAS Y UTILICE GAFAS DE SEGURIDAD.


  5. Retire la contratuerca (7) del tornillo de ajuste del pistón esclavo (Auto-Lash") (6) y afloje el tornillo hasta que el pistón que el pistón esclavo esté completamente retraído.

  6. Instale la herramienta del pistón esclavo, N/P 017397, (Fig. 2) con el tornillo de ajuste encajado en el orificio de de la herramienta.

    Herramienta de Apoyo

  7. Compress the slave piston springs and remove the retaining ring (22).

  8. Retire la herramienta del pistón esclavo y luego retire el retenedor (21), los muelles (2), el pistón esclavo y el y el tornillo de ajuste.

Montaje de Carcasas
  1. Limpiar las carcasas y todas las piezas en disolvente de limpieza.

    Secar con aire comprimido.

  2. Recubra todas las piezas que se van a instalar en los alojamientos con aceite lubricante limpio.

  3. Instale el pistón esclavo original, invirtiendo elprocedimiento de desmontaje.

    Anotación

    ANTES DE DESMONTAR LA HERRAMIENTA DEL PISTÓN ESCLAVO, GIRE EL ANILLO DE RETENCIÓN 90˚ DE LA RANURA DEL ALOJAMIENTO.


  4. Retire la herramienta del pistón esclavo e instale lala contratuerca del tornillo de ajuste (no comprima el pistónel pistón esclavo y los muelles).

  5. Instale las nuevas válvulas de control, los collarines (tenga en cuenta la posición "ARRIBA"), los muelles, las tapas y los anillos de retención.

    Posición muelles, tapas y anillos de retención.

  6. Instale los pistones maestros originales con resortes planos nuevos (consulte la nota "Precaución"),arandelas y tornillos prisioneros,
    Anotación

    AL APRETAR EL TORNILLO, ASEGÚRESE DE QUE LAS PATAS DEL MUELLE ESTÉN CENTRADAS ALREDEDOR DEL PISTÓN MAESTRO.


  7. Instale el anillo de sellado inferior (más pequeño) de la electroválvula en el fondo del orificio de la electroválvula y los anillos de estanqueidad superior y central en la electroválvula.

    En la electroválvula. Introduzca la electroválvula en el orificio. Apriete a 110 lb. (12 N-m).

  8. Conecte el nuevo arnés de solenoide de la válvula del solenoide al conector eléctrico.

Instalar Carcasas de Freno Motor
  1. Antes de instalar las carcasas, asegúrese de que los tornillos de ajuste del pistón esclavo (Auto-Lash) se alojen el pistón esclavo toque fondo en el orificio del alojamiento (el tornillo está suelto).

  2. Coloque las juntas (3) en los alojamientos de la palanca basculante

  3. Instale los tres alojamientos del freno motor en los alojamientos de la palanca basculante.

    Instale los seis tornillos en cada alojamiento.

    Apriete los tornillos en pasos, siguiendo el patrón ilustrado en la Fig. 3.

    Primero apriete a 35 lbft. (48 N-m),

    luego a 70 lbft.(95 N-m).

    Figura 3
Ajuste de Pistón Esclavo
Precaución

EL AJUSTE DEL PISTÓN ESCLAVO DEBE SER REALIZADO CON LA GALGA DE ESPESORES COLOCADA DEBAJO DE AMBOS PIES DEL PISTÓN ESCLAVO.

UN AJUSTE INCORRECTO PUEDE CAUSAR DAÑOS EN EL MOTOR

  1. Ajuste la holgura del pistón esclavo con el motor parado y frío. Temperatura del agua estabilizada de 140° F. (60° C.) o inferior, Las válvulas de escape, en el cilindro a ajustar, deben estar en la posición cerrada.

  2. La galga de espesores Jacobs, P/N 017685, tiene 0,023 en ambos extremos.

    Un extremo puede utilizarse en los cilindros 1, y 5; el otro extremo se puede utilizar para los cilindros 2, 4 y 6. (ver las siguientes figuras):

    Galga Planta de freno


  3. En los cilindros con las válvulas de escape cerradas (crucetas sueltas), instale un extremo de la galga de espesores bajo ambos pies del pistón esclavo.

    Gire el tornillo de ajuste del pistón esclavo (Auto-Lash*) en en el sentido de las agujas del reloj hasta que se perciba una ligera resistencia en la galga de espesores.

    Sujete el tornillo de ajuste y apriete la contratuerca a 25 lbft. (35 N-m).

  4. Continúe ajustando los pistones esclavos restantes donde las válvulas de escape están cerradas. Gire el cigüeñal del motor unos 180° para ajustar los restantes pistones esclavos.

Comprobación del funcionamiento del Freno Motor

Con esto se completa la instalación del Jacobs Tune-up Kit.

Ahora se deben seguir los siguientes procedimientos:

  1. Conecte los mazos de cables a los conectores eléctricos de las carcasas de los frenos del motor.

    Anotación

    LLEVE PROTECCIÓN OCULAR; NO EXPONGALA CARA SOBRE LA ZONA DEL MOTOR.

    TOME PRECAUCIONES PARA EVITAR FUGAS DE ACEITE SOBRE EL MOTOR.

    CUANDO EL MOTOR ESTE EN MARCHA Y LAS TAPAS DE VÁLVULAS CUBIERTAS DE LAS VÁLVULAS, LAS SALPICADURAS DE ACEITE EN LA ZONA DE LOS FRENOS DEL MOTOR PUEDEN CAUSAR LESIONES PERSONALES.


  2. Para purgar las unidades de freno y comprobar su funcionamiento, arranque el motor y déjelo funcionar de 5 a 10 minutos.

  3. Con el interruptor del freno motor desconectado, acelere motor hasta aproximadamente 1800 RPM.

  4. Suelte el acelerador y presione manualmente cada disco solenoide en la parte superior del solenoide.

  5. Repita este procedimiento cinco o seis veces para permitir que aceite de motor llene los alojamientos de los frenos.

Garantía Limitada de Piezas de Recambio Jacobs®

Las piezas de repuesto Jacobs® Engine Brake, productos del sistema Jacobs® Vehicle System, se venden con la siguiente garantía: Las piezas de repuesto Jacobs® Engine Brake están garantizadas contra defectos de fabricación y funcionamiento en condiciones normales de uso y servicio durante los períodos de cobertura de la garantía que se indican a continuación.

NO EXISTEN DECLARACIONES NI GARANTÍAS QUE SE EXTIENDAN MÁS ALLÁ DE LOS TÉRMINOS DEL PRESENTE DOCUMENTO O DE LA DESCRIPCIÓN DEL PRODUCTO.

Cobertura de la garantía:

Las piezas de repuesto están garantizadas por 1 año o 100.000 millas (160.926 km), lo que ocurra primero.

En virtud de esta garantía, nuestra fábrica está obligada a sustituir, sin cargo alguno, cualquier pieza devuelta a nosotros que nuestro examen revele a nuestra satisfacción que ha sido defectuosa dentro del período de cobertura de la garantía medido a partir de la fecha de entrega del producto en cuestión al usuario original.

Jacobs® también pagará todas las reparaciones de componentes dañados del motor en los que se hayan instalado correctamente piezas de repuesto Jacobs®, siempre que se demuestre que el daño es consecuencia directa de un defecto de las piezas de repuesto Jacobs® que se haya producido en condiciones normales de funcionamiento durante los periodos de cobertura de la garantía especificados anteriormente.

Esta garantía no se aplicará a ninguna pieza o piezas que hayan sido modificadas o reparadas fuera de nuestra fábrica o de los centros de servicio de distribuidores autorizados de Jacobs®, ni a piezas que hayan sido objeto de uso indebido, abuso, negligencia o accidente, ni a piezas que hayan sido aplicadas o instaladas incorrectamente.

LA ÚNICA RESPONSABILIDAD DE JACOBS® Y SU RECURSO EXCLUSIVO, SE LIMITAN A LAS OBLIGACIONES ESTABLECIDAS EN EL PRESENTE DOCUMENTO, Y JACOBS® NO SERÁ RESPONSABLE DE NINGÚN DAÑO ESPECIAL, INDIRECTO O CONSECUENTE.